木屑颗粒机工作原理是什么

木屑颗粒机又叫锯末颗粒机,是普通颗粒机的升级版,将各种果木、树木及农作物秸秆等粉碎成锯末状,加工成生物质颗粒燃料的专业设备。木屑颗粒机有效解决了传统颗粒机对粗纤维难制粒的情况,大大延长了设备的使用寿命,并提高了产量节约了吨耗,是颗粒机中的佼佼者。下面我们来分析一下木屑颗粒机工作原理是什么。
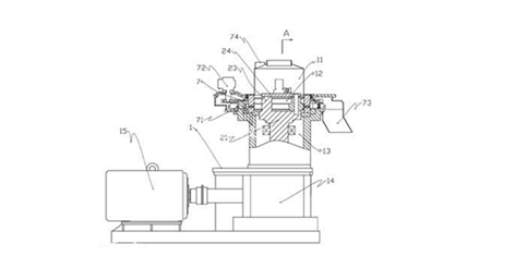
想要了解木屑颗粒机的工作原理,就应该先了解该设备的构造。

1、机架 11、进料口 12、制粒室 13、旋转轴主轴室 14、减速机 21、主轴 23、支撑块 24、支撑板 7、拨料盘 71、刀具 72、驱动装置 73、落料口 15、电机
木屑颗粒机工作原理:
木屑颗粒机的电机直接连接,然后装置牙齿式调心联轴器与减速机连接,经过90度同心变向、电机转动到立式传动轴、该传动轴带动压辊对禁锢的环形磨具实施表面碾压完成成型过程。
主机工作运转、由上料机把物料送入图示(11)垂直进料口落入压辊平台、通过该平台匀速旋转均匀的分布在成型料仓表面,压辊旋转与紧固环形磨具形成角度碾压摩擦,把物料碾入成型孔口,高压续行渐进。再通过摩擦温度的复杂变化(物理、化学)就形成一定密度的实心体圆柱状长型颗粒,通过环形磨具周围的切刀切断成一定规格的长条颗粒,然后由旋转的拨料齿盘拨送到到出料口,颗粒就源源不断的落到接料台(有输送机接送完成),完成整个颗粒成型过程。
我公司生产的木屑颗粒机所有结构部件的接触面全部是精密机床严密加工而成、组装科学精度极高、稳定性更好。
木屑颗粒机的工作原理简单描述如上,机械的工作原理是复杂的,简单的文字描述是不详细的,想要了解更多,欢迎到我厂实地参观考察。